Imaginez sillonner la route sans jamais perdre votre connexion Internet à bord de votre voiture électrique, même dans les zones les plus reculées. C’est bien ce que Tesla voudrait rendre possible.
Selon des informations rapportées par Electrek le 17 décembre 2025, Tesla aurait officiellement déposé un brevet décrivant l’intégration d’antennes satellites directement dans la structure de ses véhicules.
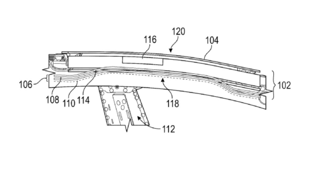
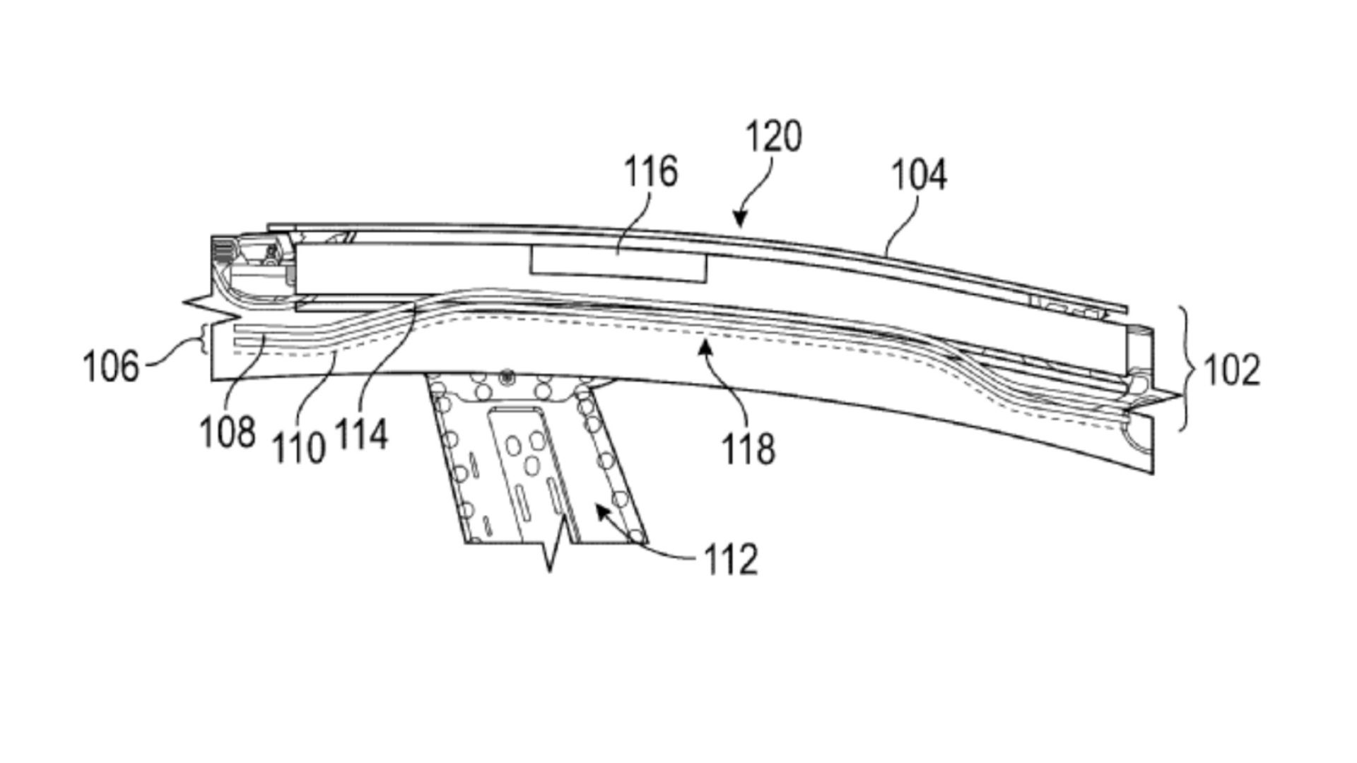
Une antenne invisible dans le toit des Tesla
Le brevet de Tesla intitulé « Assemblage de toit de véhicule avec matériau transparent aux radiofréquences » suggère ainsi qu’une antenne serait dissimulée à l’intérieur du toit des voitures.
Le document technique décrit que le dispositif serait placé sous un nouveau matériau fait de polymères spécifiques, tels que le polycarbonate ou l’acrylonitrile styrène acrylate, lesquels sont « transparents aux radiofréquences (RF) ».

Comme le souligne le brevet, l’enjeu majeur ici est donc de permettre au signal de traverser les matériaux sans interférences, ce qui est impossible avec le verre et la tôle utilisés en automobile. Ainsi, la nouvelle installation de la firme d’Elon Musk pourra assurer « une communication claire avec les appareils externes et les satellites ». Bien qu’il n’y ait aucune mention de la filiale, la connectivité se ferait via le service d’Elon Musk, Starlink.
La fin des zones blanches
Actuellement, les Tesla dépendent des réseaux cellulaires 4G et 5G pour leur « Connexion Premium ». Si ces réseaux sont performants quasiment partout, ils peuvent se détériorer dans certaines régions. L’intégration d’une connexion satellite offrirait ainsi une connexion sans coupure.
Y aurait-il une utilité à la connectivité satellite via Starlink en France ? Pas sûr. Si les zones blanches existent encore sur le territoire, elles sont devenues rares et restent localisées. En revanche, cela aurait plus de sens dans des pays très étendus comme les États-Unis ou l’Australie, par exemple.
Dans le cas où Tesla mettrait en place cette nouvelle connectivité, on pourrait imaginer que le constructeur la propose en option via un nouvel abonnement façon « Ultra Premium ».
+ rapide, + pratique, + exclusif
Zéro publicité, fonctions avancées de lecture, articles résumés par l'I.A, contenus exclusifs et plus encore.
Découvrez les nombreux avantages de Numerama+.
Vous avez lu 0 articles sur Numerama ce mois-ci
Tout le monde n'a pas les moyens de payer pour l'information.
C'est pourquoi nous maintenons notre journalisme ouvert à tous.
Mais si vous le pouvez,
voici trois bonnes raisons de soutenir notre travail :
- 1 Numerama+ contribue à offrir une expérience gratuite à tous les lecteurs de Numerama.
- 2 Vous profiterez d'une lecture sans publicité, de nombreuses fonctions avancées de lecture et des contenus exclusifs.
- 3 Aider Numerama dans sa mission : comprendre le présent pour anticiper l'avenir.
Si vous croyez en un web gratuit et à une information de qualité accessible au plus grand nombre, rejoignez Numerama+.
Toute l'actu tech en un clin d'œil
Ajoutez Numerama à votre écran d'accueil et restez connectés au futur !
Tous nos articles sont aussi sur notre profil Google : suivez-nous pour ne rien manquer !












