Encore et toujours plus de brevets. Apple a une nouvelle fois obtenu la délivrance de deux brevets par le United States Patent and Trademark Office (USPTO). Cette fois-ci, l’un des documents décrit l’intégration d’un écran enroulé autour d’un smartphone pour en améliorer les performances d’affichage. Quant à l’autre brevet, il s’attelle à imaginer un outil de réalité augmentée.
Écran enroulé
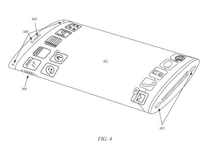
L’iPhone du futur pourrait avoir un écran enroulé autour de lui. C’est en tout cas ce que suggère l’un des brevets accordés à Apple. Le fabricant déclare dans le document qu’il souhaite utiliser les portions inutilisées des smartphones. Typiquement, les supports mobiles disposent d’un écran d’un côté et d’une surface opaque de l’autre. « Malheureusement, cette forme laisse les côtés et les surfaces arrière de l’appareil inutilisés ou, au mieux, configurés avec des boutons et des interrupteurs à fonctionnalités fixes », peut-on ainsi lire dans le brevet.
Apple décrit sa volonté d’étendre les fonctionnalités de l’appareil au-delà de son écran unique. Les futurs iPhone pourraient de fait disposer d’un écran tactile le recouvrant totalement. L’entreprise précise que cet écran flexible pourrait être plié de manière à ce que les images — qu’elles soient fixes ou animées — puissent être affichées sans coupure, dans une sorte de « boucle continue ».
Les boutons de volume ne seraient plus physiques. Ainsi pour régler le son, il faudrait maintenir son doigt sur une des parties de l’écran. Quant au verrouillage du téléphone, il pourrait se faire par une combinaison bien précise de gestes appliqués sur les côtés de l’appareil. Le brevet précise que l’écran pourrait être fait de plastique ou de verre.
Cette technologie n’est pas sans rappeler celle des smartphones à écrans pliables de Samsung. La firme coréenne compte sortir ses premiers modèles dotés d’écrans flexibles dès 2017.
Réalité augmentée
L’invention décrite dans le second brevet est une technologie qui permettrait d’afficher des images numériques superposées sur les objets environnants. Apple envisage en effet d’intégrer un ou plusieurs écrans tactiles sur un socle transparent, semblable à du verre. Lesdits écrans pourraient alors générer des graphiques, des images ou des vidéos sur les éléments alentours.
Par exemple, l’entreprise imagine la possibilité de tenir l’objet connecté devant soi lorsque l’on se trouve en face d’un tableau dans un musée afin d’obtenir des informations supplémentaires sur l’oeuvre. Autre possibilité évoquée dans le document : lors d’un tour de la ville en bus touristique, l’utilisateur pourrait en savoir plus sur les monuments devant lesquels il passe simplement en les regardant à travers l’écran.
Dans le brevet, Apple estime qu’il serait possible de superposer deux écrans pour créer l’illusion d’ une image en 3D. L’entreprise précise également que l’outil ne serait pas forcément un objet de poche, sans donner plus de détails sur la taille qu’il pourrait avoir…
+ rapide, + pratique, + exclusif
Zéro publicité, fonctions avancées de lecture, articles résumés par l'I.A, contenus exclusifs et plus encore.
Découvrez les nombreux avantages de Numerama+.
Vous avez lu 0 articles sur Numerama ce mois-ci
Tout le monde n'a pas les moyens de payer pour l'information.
C'est pourquoi nous maintenons notre journalisme ouvert à tous.
Mais si vous le pouvez,
voici trois bonnes raisons de soutenir notre travail :
- 1 Numerama+ contribue à offrir une expérience gratuite à tous les lecteurs de Numerama.
- 2 Vous profiterez d'une lecture sans publicité, de nombreuses fonctions avancées de lecture et des contenus exclusifs.
- 3 Aider Numerama dans sa mission : comprendre le présent pour anticiper l'avenir.
Si vous croyez en un web gratuit et à une information de qualité accessible au plus grand nombre, rejoignez Numerama+.
Toute l'actu tech en un clin d'œil
Ajoutez Numerama à votre écran d'accueil et restez connectés au futur !
Tous nos articles sont aussi sur notre profil Google : suivez-nous pour ne rien manquer !













