Les chutes accidentelles de téléphones mobiles ont probablement rendu de grands services à l’industrie électronique, en précipitant le renouvellement des appareils abimés. Mais ce pourrait ne plus être qu’un souvenir pour les consommateurs maladroits. Le PDG d’Amazon, Jeff Bezos, accompagné par son vice-président Greg Heart, ont en effet déposé un brevet sur une invention moins ridicule qu’en apparence, qui pourrait sauver quelques écrans et mettre fin aux coques de protection disgracieuses : un airbag pour téléphone mobile.
Selon le brevet, déposé en février 2010 et tout juste rendu public, un tiers des téléphones seraient perdus ou endommagés dès leur première année. Avec leur « système d’évitement d’endommagement », Bezos et Heart, les téléphones pourraient désormais détecter leur propre chute, évaluer la distance entre eux et le sol, et calculer le moment de l’impact. Si le niveau de risque de la chute excède un plafond déterminé par le constructeur, le système de protection se met en route pour limiter les dégâts. Comme un airbag de voiture qui ne s’active que lors d’une collision dangereuse.
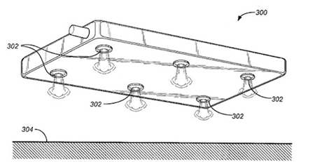
Pour éviter ou limiter l’endommagement, le système serait capable de modifier l’orientation du téléphone au moment de sa chute, comme le fait la confiture sur la biscotte. Pour cela, l’invention combine un poids qui se déplace dans le téléphone, un gaz libéré par des ouvertures spéciales, un gyroscope, et un système de propulsion. Le but est ainsi que la face du téléphone qui heurte le sol la première soit celle qui est la mieux protégée, au besoin par le déploiement de petits airbags ou de ressors.
Bientôt sur de premiers téléphones, ou même de futures tablettes Android signées Amazon ?
Vous avez lu 0 articles sur Numerama ce mois-ci
Tout le monde n'a pas les moyens de payer pour l'information.
C'est pourquoi nous maintenons notre journalisme ouvert à tous.
Mais si vous le pouvez,
voici trois bonnes raisons de soutenir notre travail :
- 1 Numerama+ contribue à offrir une expérience gratuite à tous les lecteurs de Numerama.
- 2 Vous profiterez d'une lecture sans publicité, de nombreuses fonctions avancées de lecture et des contenus exclusifs.
- 3 Aider Numerama dans sa mission : comprendre le présent pour anticiper l'avenir.
Si vous croyez en un web gratuit et à une information de qualité accessible au plus grand nombre, rejoignez Numerama+.
Toute l'actu tech en un clin d'œil
Ajoutez Numerama à votre écran d'accueil et restez connectés au futur !
Tous nos articles sont aussi sur notre profil Google : suivez-nous pour ne rien manquer !












