Longtemps fantasmés, les drones de livraison sont désormais une réalité. Certes, on ne les aperçoit pas encore dans le ciel mais des lignes commerciales commencent à voir le jour. La toute première liaison a d’ailleurs vu le jour dans le Var : opérée par une filiale de La Poste, elle permet aux drones de relier deux communes du département distantes d’une quinzaine de kilomètres.
Une question taraude toutefois les entreprises concevant ce type d’engin : quelle est la meilleure façon de déposer un colis ?
Depuis maintenant trois ans, différentes approches ont vu le jour. Avec le projet Wing, Google a réfléchi à un drone placé en vol stationnaire depuis lequel un treuil se met en branle pour faire descendre le paquet jusqu’au sol. D’autres se contentent de faire atterrir provisoirement le drone, le temps qu’il lâche sa marchandise au sol, avant de le faire redécoller.
Cette dernière solution est celle que le groupe Amazon privilégie pour l’instant avec son projet Amazon Prime. Lors de son premier test de livraison, qui s’est déroulé dans les environs de Cambridge, au Royaume-Uni, le géant du commerce électronique a fait voler son engin pendant un petit quart d’heure pour qu’il puisse ensuite atterrir dans le jardin du client.
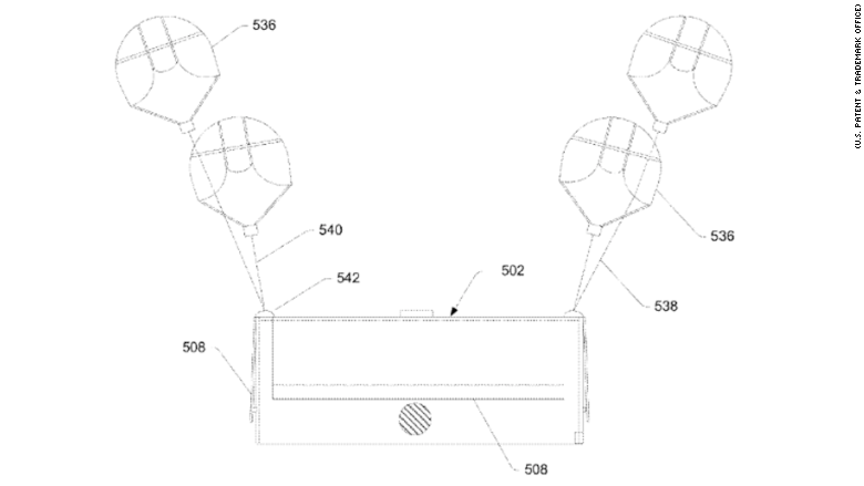
Mais comme le pointe CNN, la société de Jeff Bezos a imaginé une autre solution : au lieu de faire toucher terre au drone, pourquoi ne pas larguer le colis depuis le ciel ? Il suffirait alors de freiner sa descente avec plusieurs parachutes. Le drone se mettrait alors en vol stationnaire au-dessus du point de largage, lâcherait le colis et suivrait à distance sa chute avant de repartir vers sa base.
L’idée n’est pas si absurde que ça. Après tout, le largage aérien n’a rien de nouveau : il est né avec la seconde guerre mondiale et permet d’acheminer du matériel, des vivres ou des hommes sans avoir besoin de se poser. Et les militaires ne sont pas les seuls à s’en servir. Les civils aussi font du largage aérien, par exemple dans le cadre de missions humanitaires. Alors pourquoi pas les drones de livraison ?
Cette solution aurait comme principal mérite d’éviter d’exposer inutilement le drone. Au sol, celui-ci est en effet exposé à toutes sortes de menaces : un enfant qui tape dans un ballon et vient heurter les pales de l’appareil, un chat domestique qui croit y voir une menace ou même un vandale. En outre, cette idée résout le problème d’un jardin trop encombré pour y constituer une aire d’atterrissage.
Le concept d’un tel système a fait l’objet d’une demande de brevet qui a été validée par le bureau américain des brevets et des marques de commerce. Mais comme toujours, rien ne permet d’affirmer que ce dispositif sera effectivement utilisé par Amazon pour livrer ses clients. De toute façon, Amazon doit d’abord attendre que la loi évolue pour pouvoir véritablement lancer Prime Air.
+ rapide, + pratique, + exclusif
Zéro publicité, fonctions avancées de lecture, articles résumés par l'I.A, contenus exclusifs et plus encore.
Découvrez les nombreux avantages de Numerama+.
Vous avez lu 0 articles sur Numerama ce mois-ci
Tout le monde n'a pas les moyens de payer pour l'information.
C'est pourquoi nous maintenons notre journalisme ouvert à tous.
Mais si vous le pouvez,
voici trois bonnes raisons de soutenir notre travail :
- 1 Numerama+ contribue à offrir une expérience gratuite à tous les lecteurs de Numerama.
- 2 Vous profiterez d'une lecture sans publicité, de nombreuses fonctions avancées de lecture et des contenus exclusifs.
- 3 Aider Numerama dans sa mission : comprendre le présent pour anticiper l'avenir.
Si vous croyez en un web gratuit et à une information de qualité accessible au plus grand nombre, rejoignez Numerama+.
Toute l'actu tech en un clin d'œil
Ajoutez Numerama à votre écran d'accueil et restez connectés au futur !
Tous nos articles sont aussi sur notre profil Google : suivez-nous pour ne rien manquer !













