 À l’heure où l’écologie s’impose de plus en plus dans le cahier des charges des entreprises high-tech, les projets les plus audacieux, les plus insolites ou les plus inattendus se bousculent parfois au portillon. Dernière idée originale en date, celle d’Apple qui a déposé un brevet permettant de rétro-éclairer un MacBook grâce à la lumière du soleil.
À l’heure où l’écologie s’impose de plus en plus dans le cahier des charges des entreprises high-tech, les projets les plus audacieux, les plus insolites ou les plus inattendus se bousculent parfois au portillon. Dernière idée originale en date, celle d’Apple qui a déposé un brevet permettant de rétro-éclairer un MacBook grâce à la lumière du soleil. 
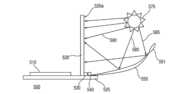
Si le concept voit le jour, cela donnerait alors une autonomie bien plus importante aux ordinateurs commercialisés par la firme à la pomme. Cette technologie, intitulée « External Light Illumination of Display Screens », résoudrait les problèmes de lisibilité des écrans LCD en plein soleil.
Concrètement, l’utilisateur fixerait un dispositif à l’arrière de son MacBook pour orienter un maximum de rayons lumineux vers le capot de l’ordinateur qui collecterait ensuite l’énergie pour augmenter son autonomie et la qualité de l’affichage au soleil.
Reste à savoir si les possesseurs de MacBook apprécieront cette excroissance dans le dos de leur ordinateur portable, excroissance qui risque d’ailleurs fort de donner un vilain coup à l’esthétisme de l’appareil. Mais c’est peut-être le prix à payer pour profiter d’une meilleure autonomie. Et d’un meilleur confort visuel.
Selon Apple Insider, la demande de brevet a été déposée le 19 septembre 2008.
 
 
+ rapide, + pratique, + exclusif
Zéro publicité, fonctions avancées de lecture, articles résumés par l'I.A, contenus exclusifs et plus encore.
Découvrez les nombreux avantages de Numerama+.
Vous avez lu 0 articles sur Numerama ce mois-ci
            Tout le monde n'a pas les moyens de payer pour l'information. 
            C'est pourquoi nous maintenons notre journalisme ouvert à tous.
        
            Mais si vous le pouvez,
            voici trois bonnes raisons de soutenir notre travail :
        
- 1 Numerama+ contribue à offrir une expérience gratuite à tous les lecteurs de Numerama.
- 2 Vous profiterez d'une lecture sans publicité, de nombreuses fonctions avancées de lecture et des contenus exclusifs.
- 3 Aider Numerama dans sa mission : comprendre le présent pour anticiper l'avenir.
Si vous croyez en un web gratuit et à une information de qualité accessible au plus grand nombre, rejoignez Numerama+.
 
        Toute l'actu tech en un clin d'œil
Ajoutez Numerama à votre écran d'accueil et restez connectés au futur !
Pour ne rien manquer de l’actualité, suivez Numerama sur Google !











