
Les signes montrant l'intérêt d'Apple pour la réalité virtuelle s'accumulent. Après la découverte en novembre d'une offre d'emploi pour embaucher un ingénieur spécialisé et l'obtention fin 2013 d'un brevet (8 605 008) décrivant un casque dont le principe de fonctionnement est identique au Gear VR de Samsung et au Rift. d'Oculus VR, un nouvel indice a été découvert cette semaine.
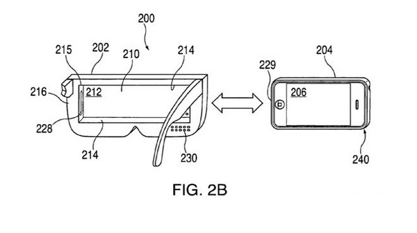
L'entreprise américaine a en effet obtenu la validation d'un autre brevet (numéroté cette fois 8 957 835). Contrairement au précédent titre industriel, le dispositif qui est présenté dans les documents fournis au bureau américain des brevets et des marques de commerce (USPTO) est une sorte de paire de lunettes qui est capable de se connecter à un iPhone ou un iPod.

Dans le descriptif du brevet, soumis le 30 septembre 2008, l'appareil doit pouvoir répondre aux instructions vocales de l'utilisateur. Des boutons sont aussi présents, pour compléter le contrôle de l'usager.
Une fonction vibration est aussi mentionnée pour accentuer l'immersion du porteur. Les lunettes, qui ont un look assez futuriste, incluent aussi la fonctionnalité PiP (image par image), qui s'appuie sur une caméra embarquée pour afficher dans un coin de l'écran une image de son environnement immédiat.
Comme toujours, le dépôt d'un brevet ne signifie pas systématiquement que l'entreprise qui en est à l'origine va lancer un produit dans les prochains mois. Cependant, on sait à la suite d'un témoignage d'un ancien cadre supérieur qu'Apple a développé en interne des prototypes de lunettes de réalité augmentée à des dispositifs de réalité virtuelle. Mais aucun n'a été présenté publiquement.
( photo : CC 0 Rastaman1075 )
+ rapide, + pratique, + exclusif
Zéro publicité, fonctions avancées de lecture, articles résumés par l'I.A, contenus exclusifs et plus encore.
Découvrez les nombreux avantages de Numerama+.
Vous avez lu 0 articles sur Numerama ce mois-ci
Tout le monde n'a pas les moyens de payer pour l'information.
C'est pourquoi nous maintenons notre journalisme ouvert à tous.
Mais si vous le pouvez,
voici trois bonnes raisons de soutenir notre travail :
- 1 Numerama+ contribue à offrir une expérience gratuite à tous les lecteurs de Numerama.
- 2 Vous profiterez d'une lecture sans publicité, de nombreuses fonctions avancées de lecture et des contenus exclusifs.
- 3 Aider Numerama dans sa mission : comprendre le présent pour anticiper l'avenir.
Si vous croyez en un web gratuit et à une information de qualité accessible au plus grand nombre, rejoignez Numerama+.
Toute l'actu tech en un clin d'œil
Ajoutez Numerama à votre écran d'accueil et restez connectés au futur !
Tous nos articles sont aussi sur notre profil Google : suivez-nous pour ne rien manquer !











