L’affichage en relief va-t-il envahir les produits Apple ? Mardi, la firme de Cupertino a obtenu un brevet concernant un système d’affichage en trois dimensions. Déposé en 2006 auprès du bureau américain des brevets et des marques de commerce (USPTO), le brevet permettra à Apple de concevoir un écran permettant d’obtenir un affichage en relief sans recourir à des lunettes actives.
La technologie mise en œuvre pour obtenir un affichage en relief à l’écran sans recourir à un dispositif particulier s’appelle l’auto-stéréoscopie. Plusieurs entreprises se sont intéressées à l’auto-stéréoscopie, à commencer par Nintendo. Le constructeur japonais utilise cette technologie sur sa nouvelle console portable, la 3DS. Elle permet de produire un effet de relief à l’écran.
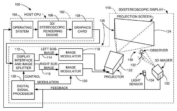
Cette technique a néanmoins une faiblesse. Le téléspectateur doit généralement être positionné dans un certain angle pour profiter pleinement de l’effet de l’auto-stéréoscopie. Dans le cas contraire, l’apparition d’objets en relief à l’écran est moins nette. Toutefois, la technologie brevetée par Apple doit pallier ce problème grâce à un système de suivi qui détecte la position du téléspectateur et adapte l’affichage en conséquence.
Dans ce domaine, Apple n’est évidemment pas la seule entreprise en lice. Les principaux fabricants de téléviseurs développent des technologies similaires pour surfer sur la tendance des appareils affichant des contenus en relief. Reste donc à savoir quels seront les débouchés technologiques d’un tel brevet. Apple pourrait par exemple déployer des écrans sur des tablettes tactiles ou des écrans pour Mac.

+ rapide, + pratique, + exclusif
Zéro publicité, fonctions avancées de lecture, articles résumés par l'I.A, contenus exclusifs et plus encore.
Découvrez les nombreux avantages de Numerama+.
Vous avez lu 0 articles sur Numerama ce mois-ci
Tout le monde n'a pas les moyens de payer pour l'information.
C'est pourquoi nous maintenons notre journalisme ouvert à tous.
Mais si vous le pouvez,
voici trois bonnes raisons de soutenir notre travail :
- 1 Numerama+ contribue à offrir une expérience gratuite à tous les lecteurs de Numerama.
- 2 Vous profiterez d'une lecture sans publicité, de nombreuses fonctions avancées de lecture et des contenus exclusifs.
- 3 Aider Numerama dans sa mission : comprendre le présent pour anticiper l'avenir.
Si vous croyez en un web gratuit et à une information de qualité accessible au plus grand nombre, rejoignez Numerama+.
Toute l'actu tech en un clin d'œil
Ajoutez Numerama à votre écran d'accueil et restez connectés au futur !
Pour ne rien manquer de l’actualité, suivez Numerama sur Google !











