Steve Jobs ne nous avait pas tout dit lors de la présentation de la deuxième génération d’Apple TV au Macworld de janvier. La firme à la pomme vient en effet de déposer un brevet qui laisse entendre des possibilités inattendues pour l’Apple TV, celle de regarder les chaînes de télévision et de pouvoir les enregistrer, un peu à la manière de TiVo.

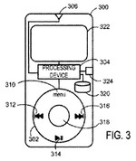
Une série d’illustrations montre un menu dans lequel on retrouve le programme TV. On trouve aussi une télécommande similaire à la deuxième génération d’iPod Nano ; il est d’ailleurs fort probabl
e que les iPods pourraient à leur tour faire office de télécommande pour l’Apple TV dans leurs futurs développements.
L’ouverture à la TV live, qu’elle se fasse par câble, satellite, ou Internet, serait tout à fait logique pour Apple. Steve Jobs espère faire de son media-center le point de convergence multimédia au milieu de votre salon. Mais ne vous attendez pas à ce qu’une telle évolution arrive dans les semaines prochaines ; le délai entre le dépôt d’un brevet et la commercialisation de l’objet est généralement assez long. Parfois même ce dernier ne voit jamais le jour.
+ rapide, + pratique, + exclusif
Zéro publicité, fonctions avancées de lecture, articles résumés par l'I.A, contenus exclusifs et plus encore.
Découvrez les nombreux avantages de Numerama+.
Vous avez lu 0 articles sur Numerama ce mois-ci
Tout le monde n'a pas les moyens de payer pour l'information.
C'est pourquoi nous maintenons notre journalisme ouvert à tous.
Mais si vous le pouvez,
voici trois bonnes raisons de soutenir notre travail :
- 1 Numerama+ contribue à offrir une expérience gratuite à tous les lecteurs de Numerama.
- 2 Vous profiterez d'une lecture sans publicité, de nombreuses fonctions avancées de lecture et des contenus exclusifs.
- 3 Aider Numerama dans sa mission : comprendre le présent pour anticiper l'avenir.
Si vous croyez en un web gratuit et à une information de qualité accessible au plus grand nombre, rejoignez Numerama+.
Toute l'actu tech en un clin d'œil
Ajoutez Numerama à votre écran d'accueil et restez connectés au futur !
Pour ne rien manquer de l’actualité, suivez Numerama sur Google !











