
Comment étendre les possibilités d'interaction avec les appareils mobiles tout en continuant à réduire leur taille, ce qui interdit de multiplier les boutons ? La semaine dernière, nous révélions qu'Apple travaillait à des écrans tactiles sensibles à la pression, qui permettraient aux interfaces graphiques de réagir différemment selon la force qu'exerce l'utilisateur sur les différentes parties de l'écran. Microsoft, lui, a une idée très différente.
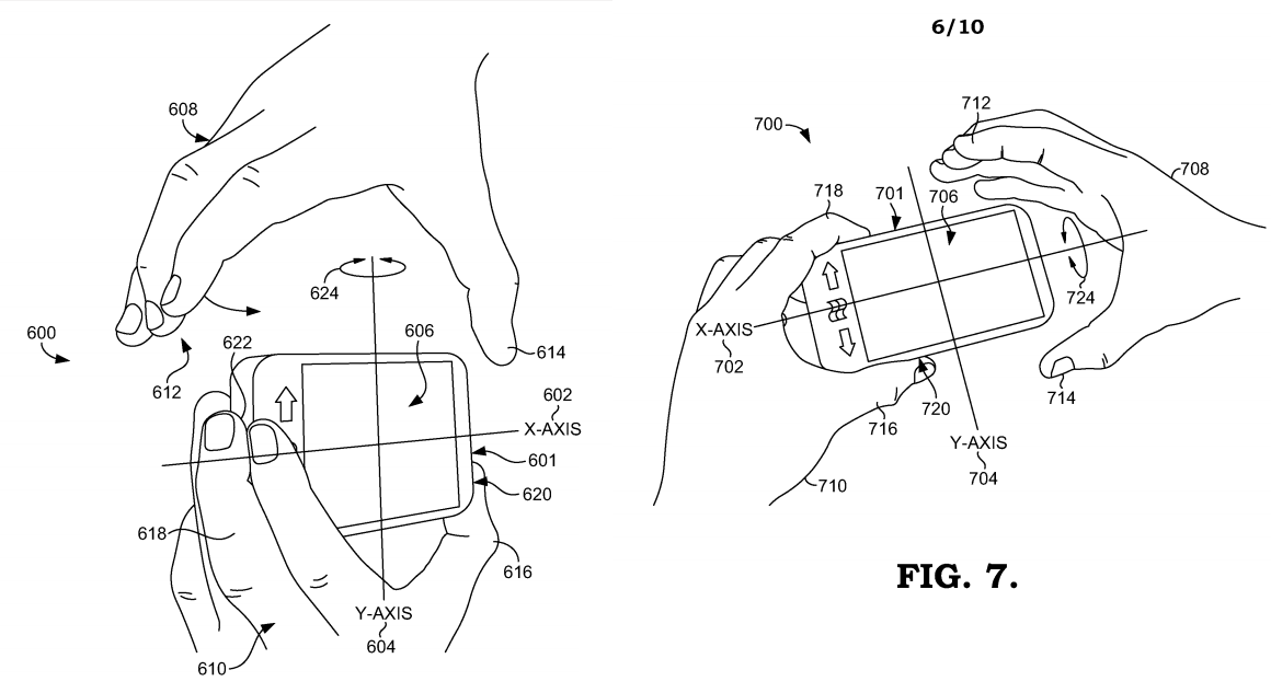
La firme de Redmond a déposé un brevet sur un système d' "entrée de geste omnispatial", qui apporte un semblant de Kinect aux téléphones mobiles. L'utilisateur tient le smartphone d'une main, mais peut le piloter de l'autre en réalisant des gestes autour du téléphone, qui sont détectés par des capteurs de présence et/ou des caméras tout autour de l'appareil.
Il est ainsi possible par exemple de zoomer/dézoomer une image en pinçant dans l'espace autour du téléphone, ou de faire pivoter un objet en effectuant un geste de rotation avec la main. L'écran reste ainsi visible en permanence, sans être caché par les doigts qui glissent d'ordinaire sur les écrans tactiles.
Dans son brevet, Microsoft précise que la technique peut être adaptée à tout appareil mobile, y compris une console de jeux portable, ou une manette.
Vous avez lu 0 articles sur Numerama ce mois-ci
Tout le monde n'a pas les moyens de payer pour l'information.
C'est pourquoi nous maintenons notre journalisme ouvert à tous.
Mais si vous le pouvez,
voici trois bonnes raisons de soutenir notre travail :
- 1 Numerama+ contribue à offrir une expérience gratuite à tous les lecteurs de Numerama.
- 2 Vous profiterez d'une lecture sans publicité, de nombreuses fonctions avancées de lecture et des contenus exclusifs.
- 3 Aider Numerama dans sa mission : comprendre le présent pour anticiper l'avenir.
Si vous croyez en un web gratuit et à une information de qualité accessible au plus grand nombre, rejoignez Numerama+.
Toute l'actu tech en un clin d'œil
Ajoutez Numerama à votre écran d'accueil et restez connectés au futur !
Tous nos articles sont aussi sur notre profil Google : suivez-nous pour ne rien manquer !












